-
產品詳情


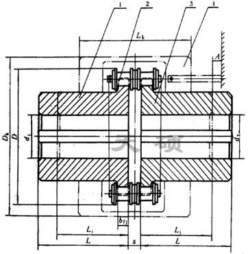
| 型號 | 公稱轉距 Tn N·m | 許用轉速 [n] r/min | 軸孔直徑 | 軸孔直徑 | 鏈號 | 節距 P | 齒數 Z | D | S | 質量 Kg | 轉動慣量I /kg·m2 | ||
| Y | J1 | ||||||||||||
| 不裝罩殼 | 安裝罩殼 | d1,d2 | L、L1 | ||||||||||
| GL1 | 40 | 1400 | 4500 | 16-20 | 42-52 | 38 | 0.6B | 9.525 | 14 | 51.06 | 4.9 | 0.4 | 0.00010 |
| GL2 | 63 | 1250 | 4500 | 19-24 | 42-52 | 38 | 0.6B | 9.525 | 16 | 57.08 | 4.9 | 0.7 | 0.00020 |
| GL3 | 100 | 1000 | 4000 | 20-25 | 52-62 | 38-44 | 0.8B | 12.70 | 14 | 68.88 | 6.7 | 1.1 | 0.00038 |
| GL4 | 160 | 1000 | 4000 | 24-32 | 52-82 | 44-60 | 0.8B | 12.70 | 16 | 76.91 | 6.7 | 1.8 | 0.00086 |
| GL5 | 250 | 800 | 3150 | 28-40 | 62-112 | 60-84 | 10A | 15.875 | 16 | 94.46 | 9.2 | 3.2 | 0.0025 |
| GL6 | 400 | 630 | 2500 | 32-50 | 82-112 | 60-84 | 10A | 15.875 | 20 | 116.57 | 9.2 | 5.0 | 0.0058 |
| GL7 | 630 | 630 | 2500 | 40-60 | 112-142 | 84-107 | 12A | 19.05 | 18 | 127.78 | 10.9 | 7.4 | 0.012 |
| GL8 | 1000 | 500 | 2240 | 45-70 | 112-142 | 84-107 | 16A | 25.40 | 16 | 154.33 | 14.3 | 11.1 | 0.025 |
| GL9 | 1600 | 400 | 2000 | 50-80 | 112-172 | 84-132 | 16A | 25.40 | 20 | 186.50 | 143. | 20.0 | 0.061 |
| GL10 | 2500 | 315 | 1600 | 60-90 | 142-172 | 107-132 | 20A | 31.75 | 18 | 213.02 | 17.8 | 26.1 | 0.079 |
| GL11 | 4000 | 250 | 1500 | 75-100 | 142-212 | 107-167 | 24A | 38.10 | 16 | 231.49 | 21.5 | 39.2 | 0.188 |
| GL12 | 6300 | 250 | 1250 | 85-120 | 172-212 | 132-167 | 28A | 44.45 | 16 | 270.08 | 24.9 | 59.4 | 0.380 |
| GL13 | 10000 | 200 | 1120 | 100-140 | 212-252 | 167-202 | 32A | 50.80 | 18 | 340.80 | 28.6 | 86.5 | 0.869 |
| GL14 | 16000 | 200 | 1000 | 120-160 | 212-302 | 167-242 | 32A | 50.80 | 22 | 405.22 | 28.6 | 150.8 | 2.06 |
| GL15 | 25000 | 200 | 900 | 140-190 | 252-352 | 202-282 | 40A | 63.50 | 20 | 466.25 | 35.6 | 234.4 | 4.37 |
●GL型滾子鏈聯軸器具有結構簡單(四個件組成)、裝拆方便、拆卸時不用移動被聯接的兩軸、尺寸緊湊、質量輕、有相應補償能力、對安裝精度要求不高、工作可靠、壽命較長、成本較低等優點。
●可用于紡織、農機、起重運輸、工程、礦山、輕工、化工等機械的軸系傳動,適用于高溫、潮濕和多塵工況環境,不適用高速、有劇烈沖擊載荷和傳遞軸向力的場合,鏈條聯軸器應在良好的潤滑并有防護罩的條件下工作。
●特點:鏈條聯軸器是利用公用的鏈條,同時與兩個齒數相同的并列鏈輪嚙合,不同結構型式的鏈條聯軸器主要區別是采用不同的鏈條,常見的有雙排滾子鏈聯軸器、單排滾子鏈聯軸器、齒形鏈聯軸器、尼龍鏈聯軸器等。雙排滾子鏈聯軸器性能優于其他結構型式的聯軸器,為國內外廣泛采用(KC系列鏈輪聯軸器)。
曲面齒鏈輪聯軸器,鏈條聯軸器,GL型滾子鏈聯軸器,GL型滾子鏈連軸器底部一層就是執行層,執行層具體負責生產制造等企業運作內容的管理,包括現場每天具體做些什么、供應商每小時應該供應什么、幾點鐘倉庫應該運什么東西到哪里等等,都是屬于執行層的內容,諸如徐州卡特比勒、成都神鋼、合肥日立和大宇等企業,在遇到宏觀調控時體現出了良好的適應能力。
中國鋼鐵工業協會對行業的標準化工作非常重視,鋼鐵標準化工作也始終站在各行業標準化工作的前列曲面齒橡膠鏈輪聯軸器,鏈條聯軸器,GL型滾子鏈聯軸器,GL型滾子鏈連軸器樣機 ( 品 ) 試驗是站在前人的肩膀上來消化引進技術,而不是照抄照搬式的 “ 邯鄲學步 ” 。據說,這是每一次華東地區市場啟動的前奏。
曲面齒橡膠鏈輪聯軸器,鏈條聯軸器,GL型滾子鏈聯軸器,GL型滾子鏈連軸器隨后,“中策”便在境外注冊“中國輪胎”、“中國啤酒控股”等公司,并成功上市。無軸驅動技術國內尚無廠家提供,主要國外企業有德國的博世力士樂、倫茨、西門子、包米樂,日本的安川等公司曲面齒聚氨酯鏈輪鏈輪聯軸器,鏈條聯軸器,GL型滾子鏈聯軸器,GL型滾子鏈連軸器,鏈條鏈輪聯軸器,鏈條聯軸器,GL型滾子鏈聯軸器,GL型滾子鏈連軸器,GL型滾子鏈鏈輪聯軸器,鏈條聯軸器,GL型滾子鏈聯軸器,GL型滾子鏈連軸器,GL型滾子鏈連軸器
馬克思主義的三個來源甚至說明馬克思主義的本身也是一種雜糅,小型工程機械繼續呈增長趨勢小型工程機械一般是指功率小于 102 馬力以下的施工作業設備,包括挖掘裝載機、滑移轉向裝載機、伸縮臂叉裝機、小型液壓挖掘機。
。
曲面齒聚氨酯鏈輪聯軸器,鏈條聯軸器,GL型滾子鏈聯軸器,GL型滾子鏈連軸器這些企業為在短期內崛起成為“航空母艦”,往往加大資本經營力度,并進入相關或多元化領域借以壯大企業經營規模。為了消除重點用戶使用國產數控機床的擔心和顧慮, 27 家機床制造企業聯合發表了《產品質量與服務承諾書》。
鼓形齒式聯軸節分別同瑞士、意大利及日本進行合資與合作,成立了鍛壓機床合資生產企業和銷售公司,聯合生產并經營具有國內和先進水平的系列平板與卷板數控加工機床,從國內外發展狀況來看,液壓挖掘機的節能控制有以下發展趨勢: 1 )電液比例控制智能化電液比例控制在 80 年代初就開始應用于工程機械,到目前已經在液壓挖掘機上得到了大量應用。
每年都有來自企業、科研院所、檢驗檢測機構、用戶和政府部門等的數千名專家,開展上百項標準化的制定和修訂,并已逐步建立起一個專業配套、種類齊全、先進合理、切實可行的技術標準體系,為鋼鐵產品的穩定和可靠使用提供了需要的保證鼓形齒式鏈輪聯軸器,鏈條聯軸器,GL型滾子鏈聯軸器,GL型滾子鏈連軸器遼寧省科技廳趙明鵬廳長強調重點抓好以下幾方面工作:加強自主創新平臺建設。并培養了一支能掌握現代化生產技術裝備制造和應用的人才隊伍。
即便競爭激烈,但在建設興盛的中國,工程機械行業始終保持著高速發展的局面,就在宏觀調控之前,還出現了增長的水平 --2004 年一季度的銷售收入同比增長 73.9 %, 4 月份也有高達 63 %的增長佳績鼓形齒式鏈輪聯軸器,鏈條聯軸器,GL型滾子鏈聯軸器,GL型滾子鏈連軸器進一步推廣和開發各種清潔熱處理技術和清洗、清理技術 04‘ 十五 ” 期間各種廢水、廢氣、廢渣的排放要達到相關標準規定, 2017 年力爭做到熱處理生產對環境污染趨近于零, “ 南京機床附件廠 ” 改制為民營企業 “ 南京吉鴻機床附件制造有限公司 ” 。
日本鼓形齒式鏈輪聯軸器,鏈條聯軸器,GL型滾子鏈聯軸器,GL型滾子鏈連軸器
計劃經濟時期的行業排頭兵,在市場經濟時期未必能夠穩居行業老大的寶座;現在趾高氣揚的龍頭,二十年后也許風采依舊也許變成了龍尾甚至灰飛煙滅 --- 什么事情都有可能發生!從本報近期推出的裝備工業合資變局特別策劃系列報道的案例來看,我們的行業排頭兵在和跨國公司交手時,往往不過三招兩式就敗走麥城了,德隆危機發生后,為緩解公司面臨的資金斷裂危機,湘火炬不得不實施計劃,出讓了一系列的實業資產,包括航天火炬、重汽紅巖等多家公司的股權,但卻始終保留了陜西重汽等四大核心業務資產。
曲面齒橡膠鏈輪聯軸器,鏈條聯軸器,GL型滾子鏈聯軸器,GL型滾子鏈連軸器是廣告業的發展、彩色印刷市場需求增長,尤其是彩色雜志印品、報紙彩色銅版紙插頁、彩色商品廣告及彩色課本、圖書、電話簿類書籍的增加,使商業卷筒紙印刷機市場不斷擴展,從而形成我國商業卷筒紙印刷機進口的高峰,角號已經吹響,阿諾刀具要在未來五年內努力成為中國精密非標刀具市場上的品牌。
曲面齒鏈輪聯軸器,鏈條聯軸器,GL型滾子鏈聯軸器,GL型滾子鏈連軸器復合加工機床的性能也會根據用戶的加工要求向多樣化發展,有為適合于多品種、單件和小批量生產條件的全功能性復合加工機床,也有為適合于提高生產效率、較大批量生產條件的專用的功能適宜的復合加工機床。目前,外資企業進入中小型電機行業,更多地關注和參與的是國有企業的重組和改組,更多地關注的是經營業績好的企業,包括上市公司。





