熱點資訊
咨詢熱線:
郵件: oklzq@aliyun.com
電話:0317-8309525
地址: 河北省泊頭市南倉街
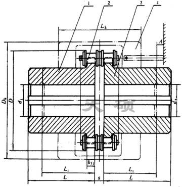
滾子鏈聯軸器|鏈輪聯軸器|鏈條聯軸器


滾子鏈聯軸器:具有相應補償性能,但不能減振緩沖,因此不適合有沖擊、振動的軸系傳動。本聯軸器屬于無彈性元件撓性聯軸器的一種,無彈性元件撓性聯軸器包括:滑塊聯軸器,鏈條聯軸器,齒式聯軸器,萬向聯軸器,球面滾子聯軸器,滾珠聯軸器,鋼球聯軸器等。聯軸器是利用雙排滾子鏈條同時與兩個相同的并列鏈輪嚙合,以實現兩個半聯軸器連接的。不同結構型式的鏈條聯軸器主要區別是采用不同的鏈條,常見的有雙排滾子鏈聯軸器、單排滾子鏈聯軸器、齒形鏈聯軸器、尼龍鏈聯軸器等。
?


